Contact Imprint Shopping cart DEEN
Frakt til Norge (VOEC)

For bestillinger opptil 3.000 NOK per vare beregner vi den norske merverdiavgiften direkte i butikken. Leveringen din blir dermed tollfri og uten tilleggskostnader.

Unntatt er mat, alkohol, tobakk og tollpliktige produkter.

VOEC-prosedyren gjelder ikke for bedriftskunder!

Bezzera

Crema Gruppe

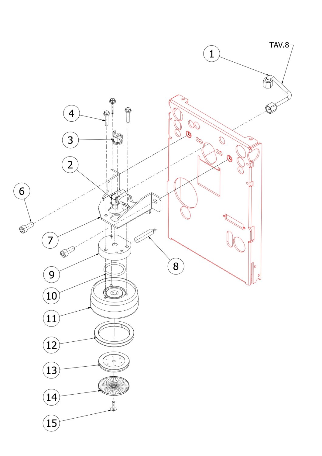
Drawing number 8393784

Under the exploded drawing you can order individual items.
If your article is not listed, please use the following form and enter the desired position numbers.

Request for unlisted item numbers.

Pos.: Image: Description: Qty.:

If your article is not listed, please use the following form and enter the desired numbers.

Request for unlisted item numbers.

Avola